Pretty much every synthesizer has a lowpass filter, but far fewer include a highpass filter. Today I’d like to take a quick look at a few that do. I’m leaving aside synths that have more sophisticated multimode filters that can be set up as highpass, and just looking at the few that included a simple 6dB/Oct highpass option. This seems to have been largely a Roland speciality. As a feature, it’s not world-changing, but it is useful to allow you to trim the flab from a lead sound to help it sit better in a mix and not get in the way of the bass so much. And it’s simple to implement, so it can be included at relatively low cost.
Arp Odyssey

The Arp Odyssey from 1972 includes the simplest-possible highpass filter on the way to the VCA. It’s a basic passive highpass, literally one cap, one resistor, and a pot. The panel graphic claims that the range is from 16Hz to 16KHz, but if you actually calculate the cutoff values from the schematic on the left, it goes from 15.9Hz to 8.8KHz. There’s a 1M/3K3 divider loading this filter, but I don’t get how this affects the highest frequency, but apparently not the lowest. In my head, it should be the other way around – 1M in parallel with 1M makes a big difference, but 1M in parallel with 1K8 makes very little odds. Answers on a postcard, please!
Yamaha CS series
I’m going to mention the Yamaha CS series, since many of them have a dual filter structure that can be set up as Highpass and Lowpass together. However, that’s all I’m going to do because they’re basically full state variable filters, not just a simple highpass in the signal chain.
Korg MS-20
Another honourable mention goes to the Korg MS-20 synth. This has two filters, first a highpass, then a lowpass. The MS-10s and early MS-20s used a proprientary “Korg35” sealed module. The later MS-20’s used the LM13600 dual OTA. Tim Stinchcombe provides a detailed analysis of the various filters and their responses. Notably, the highpass is a degenerate 2-pole filter that only provides a 6dB/Oct highpass response. Here’s a schematic for the late-era MS-20 version using the AS3080E.
This is a pretty complicated way to build a 6dB/Oct filter! Still, nothing else sounds like it!
Roland Jupiter 8 and Juno 6

The Roland Jupiter 8 was introduced in 1981 and included a simple one-pole highpass filter in each voice. This was based on Roland’s BA662 OTA. As often happened, they ignored the buffer they’d put on the chip (shades of the LM13700 here!!) and used a FET instead. The highpass design is extremely classical. There are 4-pole highpass designs using the CA3080 from the late 60s or early 70s that use this exact structure.

The Juno 6 was introduced a year later than the Jupiter 8. It was the budget polysynth in the line-up alongside the flagship Jupiter 8. It kept the highpass filter option of its big brother, but applied it later in the signal chain to all the voices mixed together. Like this, only a single filter was necessary, saving some money. Otherwise, the design is almost identical. They doubled the cap value, which would lower the filter’s basic frequency by an octave. Aside from this, no real changes have been made.
We can easily build a little one-pole highpass filter like this using the AS3080 OTA as a replacement for Roland’s BA662.
One final thing to say is that since the Juno 6 didn’t have memories, the use of a voltage-controlled filter for the highpass is an odd decision. They could equally well have used a simpler passive filter like the Odyssey or an active-but-not-voltage-controlled filter. Quite why they went the whole hog is not clear.
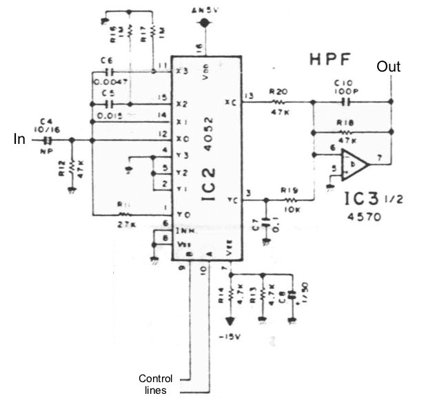
Roland Juno 60

The Juno 60 was released only months after the Juno 6, but the addition of patch memories was a significant upgrade and Roland risked being left behind without them. One change they made from the earlier Juno 6 was in the highpass filter. Instead of being a continuous control, it became a switch with four positions. The four responses look like this:

The highpass is created by one of the three capacitors C27, C28, or C29 in combination with the resistance to ground. The effective resistance is created by R66/470K and R69/33K in parallel since R69 goes to the input of a CA3080 OTA which is held at virtual ground.
The choice of a switch was particularly strange since the original Juno 6 HPF was voltage-controlled as we’ve just seen, so all they needed was another CV to control it. Presumably one CV more was one too many for whatever reason and two digital control lines was easier.
There’s another oddity with this circuit, which is that the switching is done by a 4051 8-to-1 multiplexer, although only four settings are used! Did Roland originally intend to have eight positions? They easily could have done. Control line C in the schematic above is simply wired to ground and disabled – wasted, even!
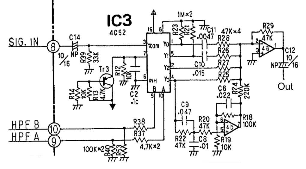
Roland Juno 106
The Juno 106 copies the four-step highpass filter from the Juno 60, but implements it differently. This time, they did actually use a switch with 4 positions, the 4052. However, the 4052 is a dual switch, so they still only used half of it!!

The biggest change is that only two of the four are actually doing any highpass filtering! The lowest position provides a shelving bass boost, the second position gives a flat frequency response, and only the upper two positions really cut any bass.

Since many people assume that the lowest position is “off” (which is logical enough for a highpass filter, it has to be said) the ‘106 is often operated with a decent bass boost applied. This is an important difference between the Juno 6/60 and the Juno 106, and (I think) a key part of the Juno 106 sound. It’s hard for even a single DCO synth to sound “thin” when there’s a +10dB bass boost applied to everything!
Roland Alpha Juno 1/2
The Alpha Juno’s are quite different from the earlier Juno series instruments. The Roland DCO design is replaced with a custom chip which contains six full oscillators. This chip seems to be fully digital and running NCOs at 12MHz, rather than being a divder-based design like the earlier synths. It also offers more waveform options and was really pretty powerful for the time – but that’s a separate article! They also changed the filter from the IR3109 4-pole to the IR3R05 dual 2-pole filter chip. Since no-one seems to like the later chip as much as the earlier one, this wasn’t a great decision.

The highpass filter was one thing that was kept from the earlier synths. It uses the same four-step approach. Aside from simplifying the bass-boost setting somewhat, it’s pretty much the same. Instead of being a shelving filter boosting bass below 250Hz, it’s a lowpass with 11dB gain set at around 600Hz. In the low range, it gives the same response, but it boosts some low mids too, and it rolls off the high frequencies significantly in a way that the earlier design didn’t do.

Akai AX60/73/80
The Akai AX series all include a highpass filter. They’re all pretty similar. The AX60 has two, since there’s one for the lower voices and one for the upper voices. They’re both identical, and they’re exactly the same structure as the Jupiter 8 / Juno 6 filter we’ve already seen. The only difference is that Akai used a op-amp instead of a FET for the buffer. In the Akai AX60, the HPF comes after the final VCA. Since that VCA is used to balance the volume level of different patches, this makes sense, since it means the highpass filter will always see a decent signal level. It looks like this:

The AX80 version is much the same, with slightly tweaked values and a different CV path. The original OTA was BA6110 rather than half a LM13600 too, but that won’t affect things much. In the AX80, there’s only a single filter and it’s stuck on the very end of the signal path, just after the mixer that mixes the individual voices together.
I haven’t got a schematic for the AX73, but I doubt it’s remarkably different. It’ll be another variation on this typical OTA-HP structure.
Conclusion
Is this a useful feature to add to a synth? I think it is. It’s simple to implement, either as a switched filter – and you could even have eight options! – or as a continuous single-pole highpass VCF. Which of those you choose really depends on whether it’s easier to have two or three digital control lines or a single CV from your control system. For non-programmable synths, adding something like the Arp Odyssey has is so simple it seems almost silly not to!
Are there any other examples that I’ve missed? Anything else I should have mentioned? Please comment below.

I don’t know how it’s implemented, but I use the HPF on my Akai AX-60 to help things sit in a mix, similar to the Juno.
Thanks for the pointer! I’ve added that one, and taken a brief look at its relatives too!